O serie de cereri de brevet depuse la Organizația Mondială a Proprietății Intelectuale dezvăluie că producătorul din Stuttgart dezvoltă suprafețe exterioare active capabile să apară, să dispară sau să își schimbe culoarea la cerere.
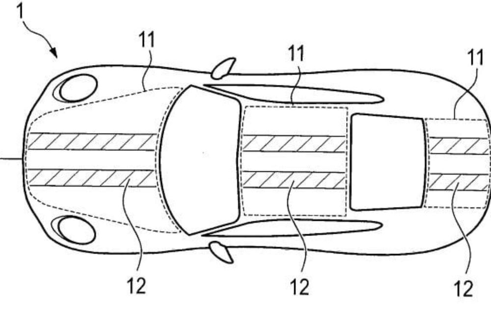
Această tehnologie utilizează un film electroforetic (similar tehnologiei e-ink) pentru a transforma exteriorul vehiculului într-un afișaj dinamic. Practic, acele linii de design care traversează lungimea unui Porsche apar doar atunci când șoferul activează modurile Sport sau Sport Plus.
În rest, într-o deplasare obișnuită, aceeași mașină va arăta ca un 911 simplu. Iar brevetul nu ține doar de spectacol, tehnologia ar putea avea și scopuri practice. Porsche propune folosirea acestor suprafețe dinamice ca un indicator exterior de mari dimensiuni pentru nivelul de încărcare al bateriei la modelele electrice.

Panourile dinamice ar putea, de asemenea, să își schimbe culoarea sau să afișeze mesaje dacă mașina este implicată într-un accident sau rămâne în pană pe marginea drumului.
Sau ar putea ajuta la mentenanță, de exemplu prin schimbarea culorii anumitor roți pentru a indica presiune scăzută în anvelope sau probleme de aliniere. Toate aceste scenarii sunt luate în calcul.Mecanismul acestei tehnologii este similar cu cel al sticlei electrocrone folosite în plafonurile panoramice moderne. Prin aplicarea unui curent electric specific unui strat conductor aflat sub lac, orientarea particulelor din acoperire se modifică, schimbând modul în care lumina este reflectată sau absorbită.
În timp ce BMW a experimentat anterior cu un înveliș complet al caroseriei pe conceptul iX Flow, abordarea Porsche pare mai orientată către elemente de design pregătite pentru producție și semnalizare funcțională.
via Carscoops











Comentarii (0)